
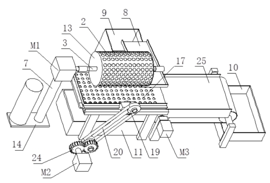
一种八角清选装置,提供一种可以降低劳动强度、提高效率的八角清选装置,包括支架,支架的顶部设有筛选滚筒,筛选滚筒内设有穿过其两端的驱动轴,支架设有可以上下摆动并转动连接所述驱动轴一端的轴承座,驱动轴另一端转动连接有电机座,电机座上设有连接所述驱动轴的第一电机,电机座底部设有驱动其上下摆动的第一驱动机构,筛选滚筒远离所述电机座的一端设有进出料口,进出料口的下方设有倾斜向下延伸的出料通道,出料通道的出口下方设有第一收集箱,筛选滚筒的正下方设有振动筛机构,振动筛机构的出口下方设有第二收集箱,振动筛机构的正下方设有第三收集箱。
